Qingdao Xin Aneng Conveying Machinery Co., Ltd.
Qingdao Xin Aneng Conveying Machinery Co., Ltd.
News

Cleaner protocol determinatio

1,1 determinatio ad Cleaner Program

Verrent in tenaces tape de carbo pulveris, quod est adhaesit. Ut omnes scimus, crudum calculus transportari a mining facies continet diversis graduum humorem, quod est securus vinculum pulverem calculus ad superficiem tape. Si pulverem carbones bonded ad tape non purgari, pulveretur carbo erit in cingulum repono bin et cylindro sub toto balteus in vacuum (i.e.

Et principalis praecessi sunt:

Magna moles pulverized carbones accumulat in balteum repono bin, quae subsidium cylindro, causando cylindro ut deficere operari et afficiens ministerium vitae balteum;

II) Deviationem de balteum operationem erit causa in ore pendens aut laceratione accidente;

III) proventus currit resistentia de tape et crescere sumptus;

IV) in quantum calculi purgari crescit, quod crescit laborem intensionem operarios;

In usum carbo cleaners, sunt tres difficultates solvitur:

I) Purgato effectus sit bonum;

II) et lautus est facile ad reponere, et sustentationem workload debet esse parvum;

III) Non necesse est esse exitum pro purgari pulverized carbo.

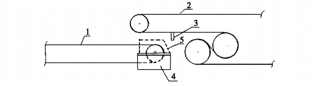
I. Analysis de current situ

I) et structuram et positus est traditional calculus lautus


Ut possit ex figure 2-1, in carbo lautus est fere installed in tergo tympanum. The coal cleaner is to fix a piece of tape in the middle of two splints to form a coal cleaner frame, use the pin and lever structure to make the coal cleaner tape stick to the hollow tape for cleaning, use the tension of the spring to make the coal cleaner and the hollow belt produce a certain pressure, and can make the coal cleaner tape wear out after the pressure compensation.

II) Traditional Coal Cleaners defectus

A. In carbonem lautus est composito ex Purgato tape, et quod deorsum balteus est a cavae balteus, cingulum supernatat sub pressura ad carbonem lautus, pressura est in carbo lautus non sufficit, et pressura est in carbo lautus non sufficit, et pressura est in carbo lautus non sufficit, et pressura est in carbo lautus non sufficit, et pressura est in carbo lautus non sufficit, et pressura est in carbo lautus non sufficit, et Purgato effectus est pauper.

VI. Et carbo lautus tergo ex unloading tympanum et plerumque magis quam 1m ab unloading tympanum secundum installation conditionibus et carbonem sub purgato ad processum ad processu non satis est, quod altitudo est subterraneis spatia non satis est, quod excelsam subterraneis spatii non est, quod est ad altum est, ut non saturabitur, quod est in calculo, quod non est in cingulo, quod est, quod est in cingulo, quod est, quod est in cingulo, quod est, quod est, quod est, quod non est in cingulo, quod excelsam non est sublata est.

c. Et replacement workload de carbo lautus est magnus, qui facit carbo lautus facile ad dampnum, et replacement exolvuntur est quoque valde brevis.

III) Typical balteus onerariam gremio iuncturam

A typicam balteus onerariam gremio est ostensum est in Figura 2-2.

Sicut potest ex figure 2-2, in carbo sub carbo lautus potest non labuntur directe in balteum et secundum praescripta "calculus meus salus instructum est a aucta est aucta est aucta est aucta.

Related News
Relinque mihi nuntium
X
Crusulis utimur ut meliorem experientiam pasco tibi praebeamus, situm negotiationis et personalize contentus analyse. Hoc situ utendo, ad nostrum crustulorum usum consentis. Privacy Policy
Reject Accipe